一、EXTECH 461830 簡單介紹 :
461830是一款數字StroboTach轉速表。凍結運動并分析旋轉物體而不接觸。通過簡單地瞄準和同步其閃光速率(FPM)與旋轉對象來檢查和分析運動和速度。適用于測量一般維護,生產,質量控制或實驗室中使用的移動齒輪,風扇,泵,電機和其他設備的速度。配有6英尺電源線,手柄,可安裝三腳架。
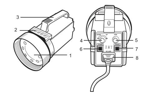
二、EXTECH 461830 儀表圖示 :

1.氙弧燈
2.LED 顯示屏
3.握柄
4.粗調整旋鈕
5.微調旋鈕
6.電源開/關開關
7.范圍選擇開關
8.交流電源線和插孔
三、EXTECH 461830 規格特征 :
閃光/速度 100至10,000 FPM / RPM
準確性 ±(0.05%rdg +1位數)
占空比 5到30分鐘
抽樣時間 1秒
尺寸 8.3 x 4.8 x 4.8“(211 x 122 x 122毫米)
重量 2.2磅。(1kg)
通過簡單地瞄準和同步其閃光速率(fpm)與旋轉對象來檢查和分析運動和速度
4位LED顯示屏上的RPM
通過獨特的微電腦LSI電路和晶體控制時基,在寬的動態范圍內具有高精度
適用于測量齒輪,風扇,泵,電機等設備的速度
三腳架用于固定使用
四、EXTECH 461830 操作說明 :
動力工具
1.將提供的電源線插入儀器的電源電纜插孔。
2.將電纜的另一端插入適當的交流電源。模型461830 需要 110VAC,461831 需要 220VAC。不插入的設備插入不正確的電源會導致否則為損壞儀器。
3.使用 ON/OFF 開關來打開或關閉儀器。
轉速 (RPM) 測量
1.刪除電源與測試設備,它是固定。
2.貼上反光標識或放在一塊小小的提供反光膠帶根據測試的設備。
3.點了頻閃儀的梁向反光標志。
4.使用 '細' 和 '粗' 調整旋鈕來同步或"停止"的議案反光標志 (閱讀下面的顯示說明部分)。
5.閱讀上 LED 顯示屏的 RPM 值。
范圍調整
1.在測量時,使用范圍按鈕選擇所需的范圍
2.低范圍用于測量低于 1000 轉/分。采用高的范圍用于測量 1000 轉/分以上。
有任何疑問,請及時與我們溝通!期待您的電鈴!
電話: 0755-89686581
13265803631/鴻澤











第4年





艾示科 AUT600車隊測試套裝EXTECH
艾示科 42512雙激光紅外線溫度計EXT
IR260緊湊型紅外溫度計EXTECH
艾示科 PRC10電流校準器EXTECH
艾示科 SDL600聲級計/數據記錄儀EXT
艾示科 PH90防水pH計EXTECH
艾示科 PQ3220 3000A柔性電流鉗探頭
艾示科 407910重型差壓壓力計(29ps
艾示科 SDL550濕度計量表/數據記錄
艾示科 THD5 USB溫度數據采集器(10
微信客服